• 产品
  • 行业
  • 工业物联网和解决方案
  • 服务
  • 公司
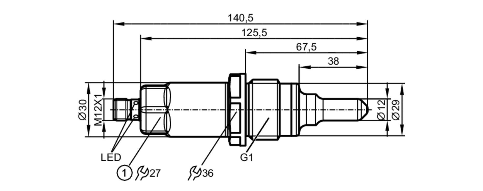
  1. 产品分类
  2. 传感器
  3. 液位传感器
  4. 卫生应用
  5. LMT302